摘要:
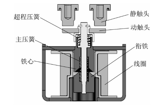
为消除接触器存在的二次吸合现象,结合接触器的结构、原理对接触器二次吸合现象的原因进行分析,借助Ansys Maxwell仿真软件,对接触器吸反力匹配关系进行优化。通过改变主压簧反力、超程压簧反力及触头超行程,得到消除接触器二次吸合的理论依据。再通过分组试验验证主压簧反力、超程压簧反力及触头超行程对接触器二次吸合现象的影响。结果表明,增大主压簧反力、减小超程压簧反力、减小触头超行程均能有效消除接触器存在的二次吸合现象。
中图分类号:
朱正伟, 王建雄, 马伟. 接触器二次吸合的机理研究及仿真优化设计[J]. 电器与能效管理技术, 2025, 0(9): 50-53.
ZHU Zhengwei, WANG Jianxiong, MA Wei. Mechanism Research and Simulation Optimization Design of Contactor Secondary Pull-in[J]. LOW VOLTAGE APPARATUS, 2025, 0(9): 50-53.