电器与能效管理技术 ›› 2025, Vol. 0 ›› Issue (11): 26-31.doi: 10.16628/j.cnki.2095-8188.2025.11.004

• 配网技术与系统 • 上一篇    下一篇

融合稀疏编码器和改进蚁群算法的电力系统负荷预测算法设计

史盛亮   

  1. 国网河北省电力有限公司 石家庄供电分公司, 河北 石家庄 050011
  • 收稿日期:2025-06-30 出版日期:2025-11-30 发布日期:2025-12-11
  • 作者简介:史盛亮(1992—),男,工程师,主要从事输电电缆运行维护的研究工作。

Design of Power System Load Forecasting Algorithm Integrating Sparse Encoder and Improved Ant Colony Algorithm

SHI Shengliang   

  1. Shijiazhuang Power Supply Branch of State Grid Hebei Electric Power Co., Ltd., Shijiazhuang 050011, China
  • Received:2025-06-30 Online:2025-11-30 Published:2025-12-11

摘要:

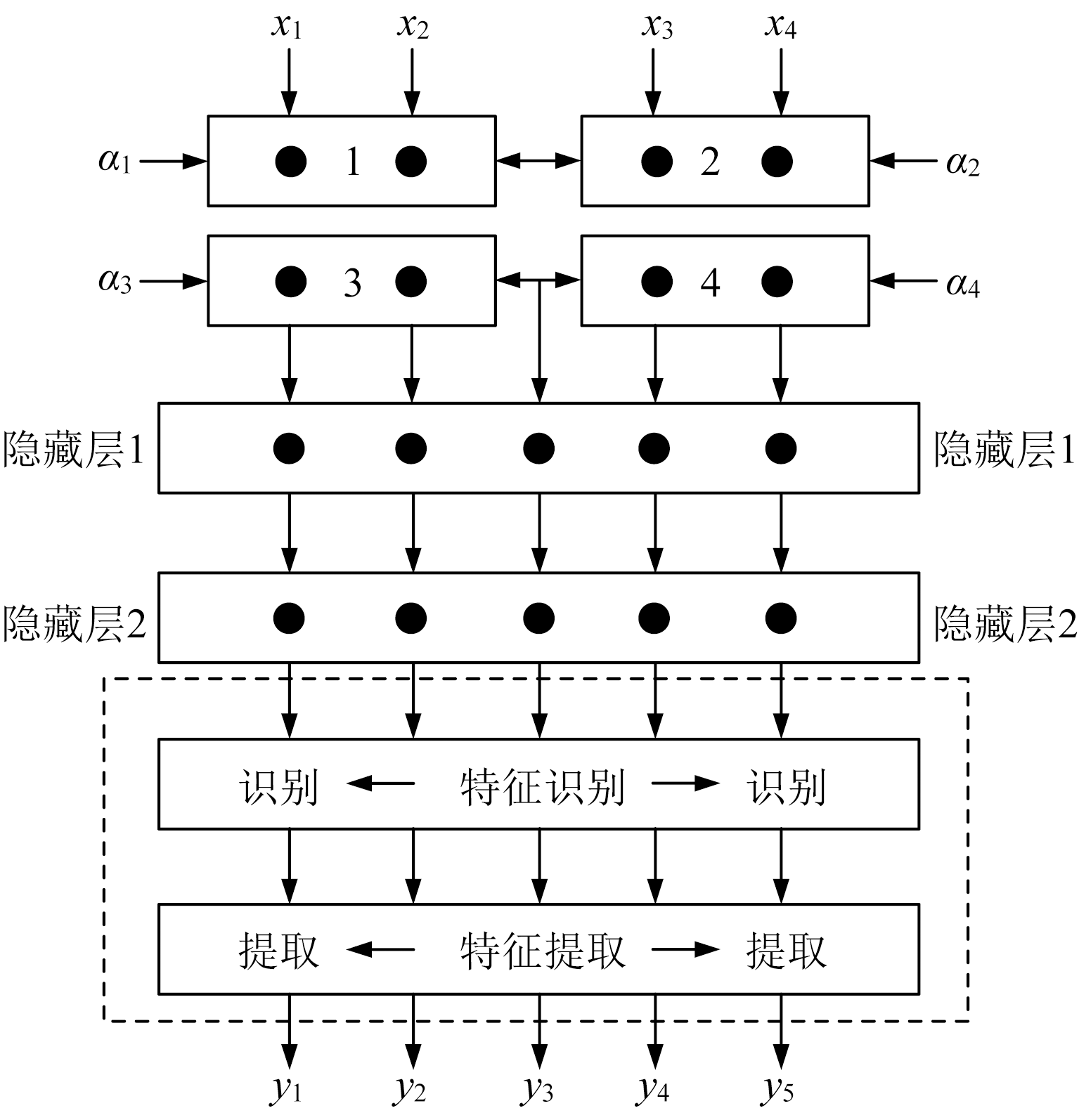
针对新能源并网环境下传统负荷预测算法解决复杂非线性关系与不确定因素的能力不足问题,提出一种融合稀疏编码器与改进蚁群算法的新型电力系统智能负荷预测模型。首先,通过构建带正则化约束的稀疏编码器,有效提取负荷数据的深层特征,增强编码器的泛化能力;然后,引入动态领域搜索机制形成改进蚁群算法,显著提升复杂场景下的全局搜索能力和收敛效率;最后,基于历史负荷数据进行模型训练和对比验证。实验结果表明所提算法的负荷预测准确率可达97.9%,较传统方法提升约20%,为智能电网调度和能源互联网的可持续发展提供了有效的技术支撑。

关键词: 负荷预测, 稀疏编码器, 改进蚁群算法, 历史数据, 实验对比

Abstract:

To address the issue that the traditional load forecasting algorithm is insufficient in handling the complex nonlinear relationship and uncertain factors in the grid-connected environment of new energy,a new intelligent load forecasting model for power system based on a sparse encoder and an improved ant colony algorithm is proposed.Firstly,a sparse encoder with regularization constraints is constructed to effectively extract the deep features of load data and enhance the generalization ability of the encoder.Then,the dynamic domain search mechanism is introduced to form an improved ant colony algorithm,which significantly improves the global search capability and convergence efficiency in complex scenarios.Finally,the model is trained and compared based on the historical load data.Experimental results show that the load prediction accuracy of the proposed algorithm can reach 97.9%,which is about 20% higher than that of traditional methods, providing effective technical support for smart grid scheduling and sustainable development of energy Internet.

Key words: load forecasting, sparse encoder, improve ant colony algorithm, historical data, experimental comparison

中图分类号: